ILMANKERRÄJÄ - HAPONKESTÄVÄ (HITSATTAVA)






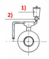
1. Ilmankerääjänä käytetään esim. Saravan tehdasvalmisteista, missä verkoston runkolinjan putki menee ilmakellon sisälle muodostaen ilmalle esteen palautua verkostoon.

2. Putki johdetaan n. 0,5 m korkeuteen lattiasta.




1. Automaattinen ilmanpoistin

2. Palloventtiili