ILMANKERRÄJÄ - TERÄS (HITSATTAVA)






1. Ilmankerääjänä käytetään esim. Saravan tehdasvalmisteista, missä verkoston runkolinjan putki menee ilmakellon sisälle muodostaen ilmalle esteen palautua verkostoon.

2. Putki johdetaan n. 0,5 m korkeuteen lattiasta.




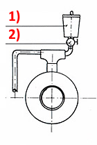
1. Automaattinen ilmanpoistin

2. Palloventtiili